发布者:IVD资讯
发布时间:2025-05-16
点击:819
IVD资讯整理自企查查
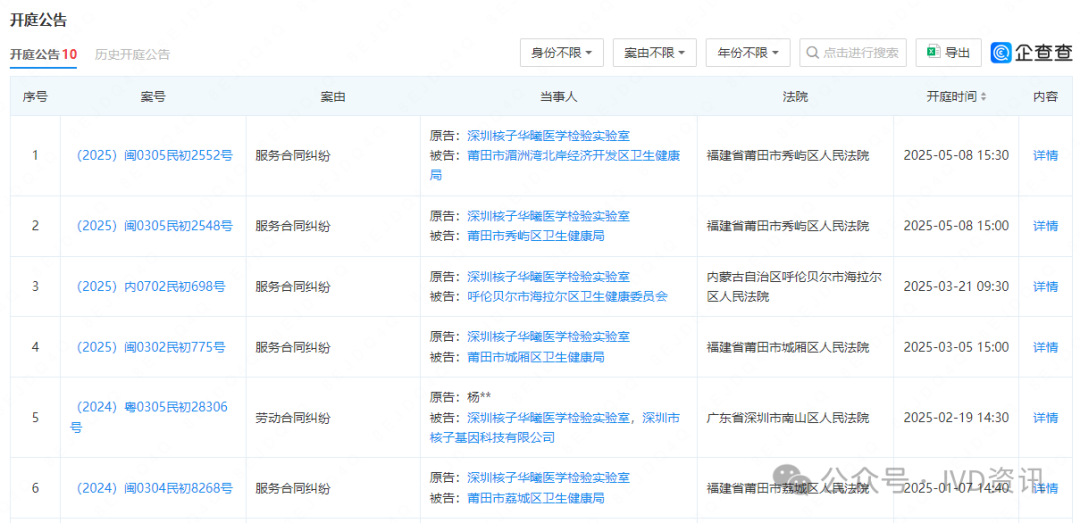
最近为了要回核酸检测费,“核酸大王“张核子所在的核子基因,旗下的深圳核子华曦医学检验实验室直接起诉各地卫健局。


核酸检测企业要居高不下的应收账款,是当今类似第三方检验所如金域、迪安等遇到的第一大难题。也只有张核子般才直接起诉卫健局要回款,其他企业一般都是协商沟通要账。

张核子,男,毕业于中国医科大学,医学硕士。现任核子基因集团(深圳)董事长、深圳市核子基因科技有限公司等多家公司法定代表人。
他最火的时候,是2022年核酸检测开展的如火如荼的时候。张核子打造的核酸帝国核子华曦实验室,覆盖了45座城市,累计检测超7亿人次,被称为“核酸大王”。
有网友称“哪里有他的公司,哪里疫情爆发”,随后兰州卫健委的一则“核酸造假”的通报,让核子华曦引爆舆论,全网寻找张珊珊,导火索都指向了张核子。
疫情消退后,陆续传出张核子进军房地产、预制菜的消息,每次都能引起舆论关注。
2024年,张核子入驻抖音,短短一个月,他已经更新了22条视频,目前收获了5.1万粉丝。
