首页
公司介绍
IVD资讯
品牌张聊医疗
IVD体外诊断网
行业资讯
行业热点
技术产品
市场观察
政策法规
创业投资
业务介绍
品牌战略咨询
主编原创
内容传播
直播/转播
视频号专访
宣传片制作
全媒体发布
战略合作
舆情报告
企业动态
职场招聘
联系我们
搜索
行业热点
Article
首页
>
行业热点
达安和圣湘,分子诊断双子星!
发布者:IVD资讯
发布时间:2024-04-11
点击:487
来源:IVD从业者网
说到分子诊断,有两家企业值得深入研究和分析,一家是达安基因,一家是圣湘生物。
达安基因在国内做分子诊断比较早,不仅在分子诊断领域的产品比较齐全,也逐渐向生化免疫、微生物等方向做扩展,其销售渠道和特殊背景的原因,让达安成为分子诊断赛道上的领导者。
而圣湘生物作为后起之秀,凭借精湛的技术和对客户需求的深度洞察,抓住了一个又一个的风口,不仅在国内的分子诊断市场挥斥方遒,也将中国的分子诊断方案带向了全球,走向了世界。
这两家公司的发展路径并不相同,但在却在顶端相聚,成了中国分子诊断界的
“临床PCR双子星”
!
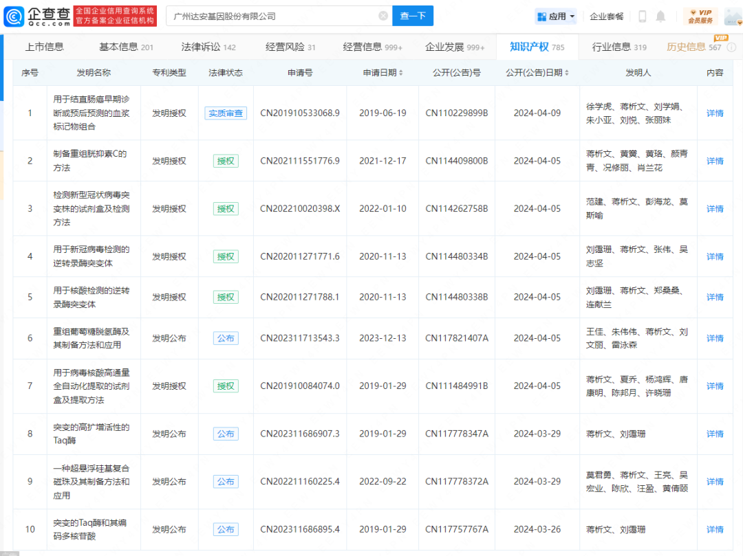
达安基因—聚焦原料突破,提升产品品质
从达安基因最近一年获批的技术专利来看,主要聚焦在酶、磁珠、提取、核苷酸、蛋白等试剂原料方面的技术创新和突破,可见技术创新的尽头是做出好的原料,做出好的产品。
据企查查数据显示,达安基因的专利信息达到
418条
,在一众IVD企业遥遥领先。
圣湘生物—洞悉
客户需求,打造爆款产品
圣湘生物是我熟悉的几个IVD企业中响应市场变化最快的企业,我说的响应快,是能够真的根据市场需求做出产品,这是不容易的事。
从其获得的专利上,也能看出来圣湘对于分子诊断市场的理解是非常独到的。
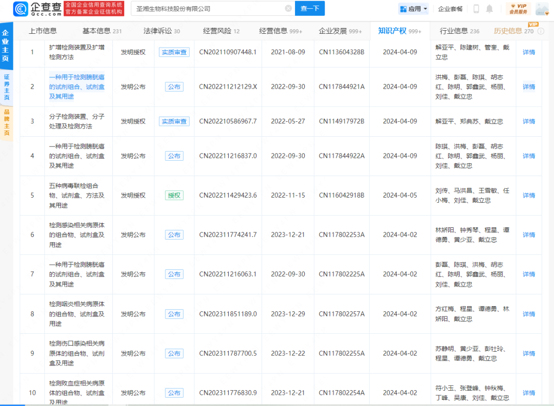
从专利数量上来看,圣湘有
355项
相关的专利信息,仅次于达安基因。
简单举几个例子,对于检测装置的技术创新从未停止,这些来自设备和装置的技术创新,让圣湘在去年和今年陆续推出了一些新的产品,例如此前呼吸道的直扩超声滴管OTA做病毒裂解。
扩增检测装置及扩增检测方法
开关盖装置及核酸提取仪
反应装置及其控制方法
一种核酸提取设备
核酸提取装置及提取方法
...............
我比较感兴趣的是圣湘对于试剂盒设计的相关专利,从目前获批的来看,圣湘在试剂盒的技术创新主要在多联检和一些热门靶标上的方向。
一种用于检测膀胱癌的试剂组合、试剂盒及其用途
五种病毒联检组合物、试剂盒、方法及其用途
检测咽炎相关病原体的组合物、试剂盒及用途
检测伤口感染相关病原体的组合物、试剂盒及用途
检测败血症相关病原体的组合物、试剂盒及用途
不同类型病毒联检的组合物、试剂盒、方法及其用途
检测橙黄色赛多孢子菌的组合物、试剂盒及检测方法
检测中东呼吸综合征病毒、猴痘病毒、博卡病毒的组合物、试剂盒及检测方法
检测肺部感染相关病原体的组合物、试剂盒及用途
针对呼吸道病原体及耐药基因的检测试剂盒和制备方法
检测人类免疫缺陷病毒、结核分枝杆菌、卡氏肺孢子菌的组合物、试剂盒及检测方法
检测阴道炎相关病原体的组合
物、试剂盒及用途
看了达安基因和圣湘生物的技术创新方向,给人最直观的感受就是,达安基因像一个
“科学家
”,在底层技术和关键技术上找突破,精益求精;圣湘生物像一个
“产品经理
”,市场需要什么我就造什么,主打一个刚需。
一家企业能不能持续发展下去,技术创新能力是其中重要的一环,持续投入研发并有产出的,有深厚技术储备的企业,能够在复杂多变的市场竞争中播出一片新天地。达安和圣湘的两种技术创新模式都非常具有代表性,任何一个方向做到极致,都是王道。
老牌IVD企业,终止IPO上市!
IVD企业,重磅战略合作!
相关资讯
IVD全国独家新品!亮相CACLP
2026-04-22
菁良国产第三方质控品,重磅亮相CACLP!
2026-04-22
IVD标签及医疗器械唯一标识UDI解决方案!
2026-04-22
全球首发!康华生免流水线横空出世
2026-04-22
中元汇吉,签约碧迪!
2026-04-22
Copyright©2016-2024 All rights reserved. IVD资讯 版权所有
陕ICP备2022001803号
咨询热线
13986268233